
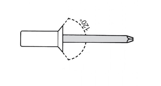
Преимуществом вытяжных закрытых заклепок с потайным бортиком является герметичное соединение и гладкая поверхность в месте крепления (бортик не выступает над материалом). Это достигается за счет закрытой формы изделия и прижимного (потайного) бортика. С лицевой стороны он плоский, а с обратной представляет собой скос под углом 120о, плавно переходящий в корпус заклепки.
Потайная заклепка идеально «садится» в подготовленное отверстие и после фиксации не нарушает рельеф поверхности. Закрытые потайные заклепки создают максимально жесткие и надежные неразъемные соединения твердых материалов. Их часто используют для крепления облицовки любых видов, фурнитуры, напольного покрытия в судостроении и других областях.
Данный тип заклепок используется для монтажа листовых материалов и плоских элементов конструкций в случаях, когда соединение должно быть эстетичным. Для установки вытяжной заклепки достаточно доступа к материалам с одной стороны и не требуется ровного установочного отверстия. Мягкий корпус заклепки легко развальцовывается и заполняет собой установочное отверстие, прочный стержень после вытягивания обрывается инструментом.
Аналоги: 2-ASFC 48180, 5-ASFC 48180, HF2-48170.
Форма головки | Потайная |
Материал заклепки | Алюминий/Сталь |
Тип заклепки | Закрытая |
D1 Ø | 4,8 |
Длина «L» | 17 |
Помогите другим пользователям с выбором - будьте первым, кто поделится своим мнением об этом товаре.